文/北京市集佳律師事務所 李洪江
摘要:
我國關于功能性限定的技術特征并沒有采用“周邊限定主義”以及“中心限定主義”,而是根據我國專利撰寫、保護等水平的現狀,采“折中主義”學說,反對將授權確權程序中直接認定“包含功能性限定技術特征的權利要求覆蓋了本領域技術人員所有能夠實現所述功能的實施方式”的觀點,結合說明書以及附圖的內容,以“一基本、兩相同”為判定原則,并考慮實現其功能必不可少的技術特征。
功能性限定的技術特征歷來受到專利授權確權以及侵權訴訟當事人、審查員、法官的高度關注,甚至至今存在爭議。如何厘清功能性限定的技術特征保護范圍,將成為專利侵權訴訟中指控被控侵權產品是否落入涉案專利的重要步驟,成為各方當事人不可回避的問題。
一、專利授權確權程序中涉及功能性限定技術特征的審查
專利法第26條第4款規定,權利要求書應當以說明書為依據,清楚、簡要地限定要求專利保護的范圍。具體是指權利要求應當得到說明書的支持。也就是說,權利要求書中的每一項權利要求所要求保護的技術方案應當是本領域技術人員能夠從說明書充分公開的內容中得到或概括得出的技術方案,并且不得超出說明書公開的范圍。
在撰寫權利要求的過程中,專利代理人通常根據說明書記載的一個或者多個實施方式或實施例進行概括。因此,權利要求的概括應當不超出說明書公開的范圍。如果本領域技術人員可以合理預測說明書給出的實施方式的所有等同替代方式或明顯變型方式都具備相同的性能或用途,則應當允許申請人將權利要求的保護范圍概括至覆蓋其所有的等同替代或明顯變型的方式。
對于用上位概念概括或用并列選擇方式概括的權利要求,應當審查這種概括是否得到說明書的支持。如果權利要求的概括包含申請人推測的內容,而其效果又難于預先確定和評價,應當認為這種概括超出了說明書公開的范圍。因此對于含有功能性限定的特征的權利要求,應當審查該功能性限定是否得到說明書的支持。
審查指南規定:對產品權利要求來說,應當盡量避免使用功能或者效果特征來限定發明。對于權利要求中所包含的功能性限定的技術特征,當專利審查員經過實質審查最終授權的權利要求而言,根據權利推定有效原則,應當理解為包含功能性限定技術特征的權利要求覆蓋了本領域技術人員所有能夠實現所述功能的實施方式。
二、專利侵權訴訟程序中涉及功能性限定技術特征的認定
根據專利法第五十九條的規定:發明或者實用新型專利權的保護范圍以其權利要求的內容為準,說明書及附圖可以用于解釋權利要求的內容。而面對涉及功能性限定的技術特征的保護范圍問題,卻出現諸多爭議。
關于功能性限定的技術特征,目前僅有兩項司法解釋可供依照:(1)根據2010年1月1日起實施的《最高人民法院關于審理侵犯專利權糾紛案件應用法律若干問題的解釋》(下稱“司法解釋一”)第四條的規定:對于權利要求中以功能或者效果表述的技術特征,人民法院應當結合說明書和附圖描述的該功能或者效果的具體實施方式及其等同的實施方式,確定該技術特征的內容。(2)根據2016年4月1日起實施的《最高人民法院關于審理侵犯專利權糾紛案件應用法律若干問題的解釋》(下稱“司法解釋二”)第八條第二款的規定:與說明書及附圖記載的實現前款所稱功能或者效果不可缺少的技術特征相比,被訴侵權技術方案的相應技術特征是以基本相同的手段,實現相同的功能,達到相同的效果,且本領域普通技術人員在被訴侵權行為發生時無需經過創造性勞動就能夠聯想到的,人民法院應當認定該相應技術特征與功能性特征相同或者等同。
可見,我國關于功能性限定的技術特征并沒有采用“周邊限定主義”以及“中心限定主義”,而是根據我國專利撰寫、保護等水平的現狀,采“折中主義”學說,反對將授權確權程序中直接認定“包含功能性限定技術特征的權利要求覆蓋了本領域技術人員所有能夠實現所述功能的實施方式”的觀點,結合說明書以及附圖的內容,以“一基本、兩相同”為判定原則。
在(2015)京知民初字第441號案中,北京握奇數據系統有限公司主張恒寶股份有限公司提供的EX-ZN型USBKey產品落入了涉案專利權利要求1的保護范圍:G、一種電子裝置,與網絡環境下的客戶端相連;H、包括有操作運算模塊,用于執行安全運算操作命令;I、數據存儲模塊,用于保存用戶數據和應用數據;……
北京知識產權法院認為:權利要求16系產品權利要求,受保護的應當是產品的部件或部件之間的配合關系。H特征記載的是操作運算模塊的功能,屬于功能性特征,即對于結構、組分、步驟、條件或其之間的關系等,通過其在發明創造中所起的功能或者效果進行限定的技術特征。根據相關司法解釋的規定,對于權利要求中以功能表述的功能性技術特征,應當結合說明書和附圖表述的該功能的具體實施方式及其等同的實施方式確定該技術特征的內容。


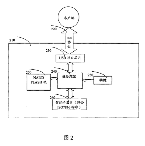
操作運算模塊的功能是用于執行安全運算操作命令。在專利說明書具體實施方式部分,第12頁記載,“智能卡芯片 260 完成 APDU 命令指定的安全運算操作后,將執行結果回送微處理器 240”;在第11頁記載,“操作運算模塊180,連接微處理器,用于完成操作控制列表指定的操作命令和控制操作控制列表的安全更新”;第11頁-12頁記載,“在本發明的裝置中,操作運算模塊180可以部分或全部在微處理器140中。”從第22頁具體實施方式圖2可以看出,智能卡芯片260與微處理器相連接。
根據上述專利說明書具體實施方式部分的記載,執行安全運算操作模塊功能的部件是智能卡芯片;部件配合關系為,與微處理器相連接,或者可以全部或部分在微處理器中。據此,確定H特征的內容是,“用于執行安全運算操作命令的操作運算模塊,是智能卡芯片,它與微處理器相連接,也可以全部或部分在微處理器中。”
經庭審質證,將被控侵權產品的h特征與H特征進行比對,法院認為:由于它們屬于功能性特征,需要從產品部件及其功能、部件的配合關系三方面進行比較。H特征使用的部件是智能卡芯片,h特征使用的產品部件是協同處理器;h特征的協同處理器位于微處理器中;而H特征的智能卡芯片所處的位置,既可以與微處理器相連接,也可以部分或全部位于微處理器中,顯然,它在外延上包含了位于微處理器中這種情形。智能卡芯片與協同處理器在功能上均是用于執行安全運算操作命令,由此看,雖然h特征采用的部件與H特征不同,但是屬于以基本相同的手段,實現相同的功能,達到相同的效果,且本領域普通技術人員無需經過創造性勞動就能夠聯想到,故h特征與H特征分別記載的功能和部件配合關系相同,使用的部件等同,兩特征構成等同。
在(2015)浙杭知初字第687號案中,肇慶市衡藝實業有限公司主張被告杭州阿里巴巴、深圳市鴻鑫拓普電子科技有限公司銷售的“磁懸浮地球儀”涉嫌侵犯其“200610065336.1”發明專利權利要求1:“ 一種磁斥型懸浮裝置,包括……懸浮體水平運動控制裝置,設置在所述底座內,當所述底座上方懸浮的所述磁性懸浮體在水平方向上偏離所述基準位置時,控制所述磁性懸浮體返回所述基準位置。”
法院認為:涉案專利權利要求1限定的“懸浮體水平運動控制裝置” 屬于功能和效果表述的技術特征,且本領域技術人員僅通過閱讀說明書、附圖不能直接、明確地確定其保護范圍,因此應當結合說明書的具體實施方式確定其保護范圍。根據涉案專利說明書記載:該功能性技術特征至少包含“帶鐵芯的四個線圈,串聯成相互獨立的兩個線圈并分別沿Y、X方向排列,通電后各組線圈鄰近懸浮體的一端的磁性相反”、“靠近各線圈頂端的位置安裝有四個霍爾元件傳感器(磁性傳感器),四個傳感器分成兩組,分別控制兩組線圈的勵磁電流,進而控制懸浮體X、Y方向的自由移動、“控制電路由完全相同的相對獨立的控制電路組成,控制電路分別控制兩組線圈組的勵磁電流,每個控制電路包括四個電路部分”等內容,各該部分內容均為實現水平運動控制技術方案所必需,對涉案專利權保護范圍具有限定作用。
而專利權人主張“電磁線圈+傳感器+控制電路”即可實現水平運動控制功能,并不贊同其他技術特征加入到該功能性技術特征中限定其保護范圍。
被告提出了自己的抗辯意見,即:“電磁線圈+傳感器+控制電路”僅僅是三個部件的名稱,如果沒有三者的配合關系,控制電路的具體排布均不能實現水平運動控制功能和效果。
最終法院采納了被告的主張,并認為:雖可確定被控侵權產品底座內具有霍爾元件傳感器,但其數量為3個,其中1個安裝在某一線圈的頂端,另外2個安裝在靠近前述線圈及其相鄰線圈的中部位置;被控侵權產品的控制電路也與涉案專利所描述的電路存在差異,因此被控侵權產品相應技術特征與涉案專利技術方案存在明顯區別。